Hersteller seit 1958
Ruedas Alex

Befestigungsarten

Die Art der befestigung hängt von der beschaffenheit des Gerätes ab an denen die Räder und Rollen verbaut werden. z.B. häuslichen Gebrauch, Industrie-Transport, Schwerlast-, Büromöbel, Gerüste, Regale, Krankenhäuser, Arztpraxen und institutionelle Bereiche, usw.

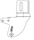
Befestigung durch Anschraubplatten

Ideal für die Anbringung an Geräten, Maschinen oder Ausrüstungen mit ebenem Unterbau. Werden bei Rädern und Rollen verwendet, die bei Apparaten sowie im Gewerbe- und Schwerlasttransport zum Einsatz kommen. Die Abmessungen sind genormt und proportional zum Rad- bzw. Rollendurchmesser. Das gebräuchlichste Maß zwischen den Bohrungen beträgt 80 x 60 mm, bei einem Durchmesser von 80 bis 100. Ab einem Durchmesser von 125 mm beträgt das Maß gewöhnlich 105x80 mm. Es gibt noch größere Maße, die bei extremen Schwerlasttransporten zum Einsatz kommen.

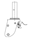
Befestigung durch Rückenloch

Besteht aus einer zentralen Bohrung im Lager des Lenkgehäuses, in die eine Schraube, normalerweise M8 bis M12, eingedreht wird. Die Tragfähigkeit variiert je nach Befestigungsart. Diese Befestigung Word gewöhnlich bei Geräten und Elementen angewendet, bei denen keine hohe Tragfähigkeit erforderlich ist. Sie zeichnet sich durch ihre einfache Montage aus.

Befestigung durch Stahleinsteckzapfen mit Dübel

Wird für Apparate-Räder und -Rollen sowie für Transportgeräte verwendet: Garderobenständer, Ständerregale, Blumenkästen, TV Tische. Es gibt eine Vielzahl an Kunststoffdübeln für die verschiedenen Rohrbohrungen, in denen diese aufgenommen werden, runde wie viereckige.

Befestigung durch Glatten Stahleinsteckzapfen mit Ring

Wird direkt in ein Rohr eingesteckt. Ist im oberen Teil mit einem Ring versehen, der für eine bessere Befestigung und einen sicheren Halt in der Aufnahme sorgt. Sie zeichnet sich durch ihre einfache Montage aus. Wird vor allem bei Bürostühlen verwendet.

Gerüstbefestigung mit Zapfeneinsatz

Das Gerüstrohr wird in den Zapfen des Rads oder der Rolle gesteckt und durch eine Feststellschraube fixiert.

Gerüstbefestigung mit Feststehendem zapfen

Der Zapfen des Rads oder der Rolle wird in das Gerüstrohr eingesteckt und per Stift fest verankert.

Gewindezapfenbefestigung

Der Gewindezapfen wird mit einer Mutter angezogen oder verschraubt. Im Bereich der Apparate-Räder und -Rollen wird diese Befestigungsart zusammen mit der Befestigungsplatte am häufigsten verwendet.

Expanderbefestigung aus Kunststoff

Besteht aus einer Schraube, zwei konischen Elementen und einem expandierbaren Kunststoffteil. Das Kunststoff teil dehnt sich beim Eindrehen der Schraube im Innern des Rohrs aus. Hauptanwendungsbereiche sind Krankenhäuser und staatliche Einrichtungen.

Befestigung durch Kehlwinkel

Speziell für die Montage von Modulregalen entwickelt. Erhältlich in drei verschiedenen Durchmessern: 40, 60 und 80.

Kontakt

Kontaktieren Sie uns

Schicken Sie uns das folgende Formular und wir werden Sie kontaktieren, um Ihre Frage zu beantworten.

Kontaktinformationen:
E-Mail: info@alex.es
Telefon: (+34) 974 035 345
Öffnungszeiten:
Montag bis Freitag: 8-14h / 15-18h
Samstag und Sonntag: Geschlossen
Responsable: Ruedas Alex, S.L.U, siendo la Finalidad: gestionar el contacto entre cualquier interesado y nuestros servicios de atención. La Legitimación: es gracias a tu consentimiento. Destinatarios: no se comunicarán los datos personales a ningún tercero. Podrás efercer Tus Derechos de Acceso, Rectificación, Supresión, Limitación, Oposición y Portabilidad en rgpd@alex.es. Para más información consulte la Política de Privacidad.

Informieren Sie sich über alle Neuheiten, Angebote und Promotionen die wir für Sie vorbereitet haben.